Добавить новость



Новости сегодня на DirectAdvert

Новости сегодня от Adwile

В России разработали «чудо-аппарат»: он ускорит производство топлива на 30%

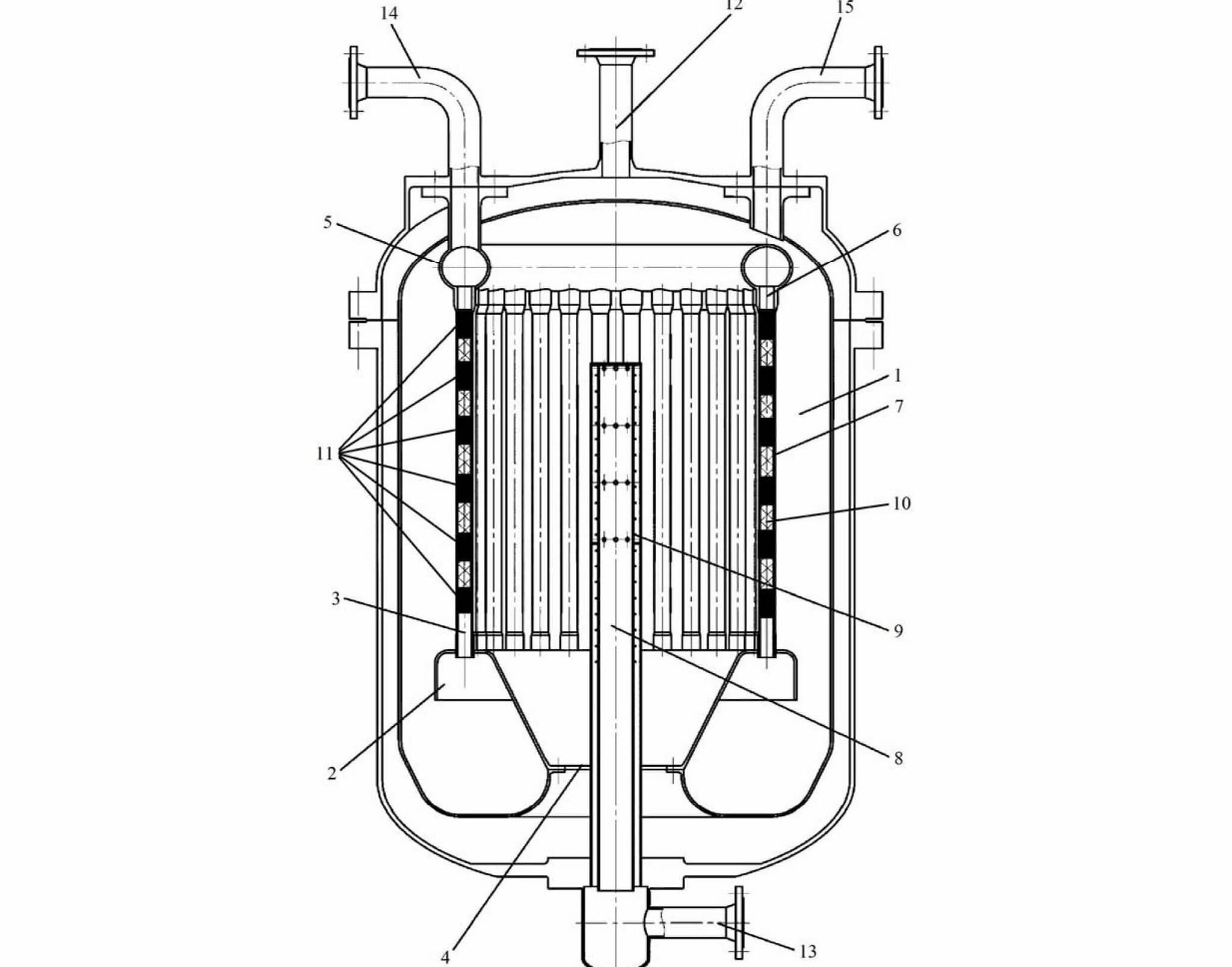
Специалисты Пермского национального исследовательского политехнического университета разработали новый тип реактора для получения так называемого синтез-газа — это смесь водорода и оксида углерода, вырабатываемая из углеродсодержащего сырья, из которого потом получается самая разная продукция, включая топливо, пластмассы и лекарства.

В настоящее время реактор для получения синтез-газа представляет собой установку, в которой располагаются реакционные и теплообменные трубки. В первых трубках размещён катализатор в виде металлокерамических гранул для ускорения процесса синтеза. Вторые же необходимы для отвода вырабатываемого в ходе работы установки тепла. Углеводородное сырьё, проходя через катализатор, вступает с ним в реакцию, производя тот самый синтез-газ.

Общий вид реактора в разрезе / © Николай Кондрашов, источник: патент 2823376

Ключевая проблема существующих установок заключается в неравномерном распределении тепла в слоях катализатора: у стенок трубок он прогревается намного сильнее, нежели в центре. Это снижает качество конечной продукции и коэффициент полезного действия.

Аппарат, разработанный отечественными специалистами, имеет конструкцию, где слои катализатора чередуются со слоями сферических металлических частиц. Благодаря последним тепло намного быстрее проникает внутрь трубки, обеспечивая равномерное нагревание всего катализатора.

«Наше устройство для получения синтез-газа содержит реакторную камеру – полый цилиндр, внутри которого установлены 30 каналов (трубок) увеличенного диаметра и система нагрева, представляющая собой центральную трубу с отверстиями для выхода тепла. Сами каналы заполнены с чередованием слоев катализатора (никель с керамикой) и слоя металлических шариков. Такая конструкция обеспечивает одинаковый прогрев и повышение производительности реактора на 30%», – рассказывает Николай Кондрашов, главный инженер проектов ПНИПУ.

Установка функционирует следующим образом: углекислый газ и водяной пар под давлением подаётся в центральную трубку, после чего поджигаются, чтобы обеспечить нагрев стенок до температуры 900°С. На следующем этапе в реакционные трубки закачивают углеводородное сырье, которое проходит через слои металлических частиц, образуя смесь водорода и оксида углерода. На выходе получается синтез-газ.

Проведённые тесты на одном из объектов атомной отрасли доказали эффективность новой установки, созданной за стенами ПНИПУ. Авторы проекта уже получили патент на своё изобретение.












Читайте также


Читайте на сайте


Smi24.net — ежеминутные новости с ежедневным архивом. Только у нас — все главные новости дня без политической цензуры. Абсолютно все точки зрения, трезвая аналитика, цивилизованные споры и обсуждения без взаимных обвинений и оскорблений. Помните, что не у всех точка зрения совпадает с Вашей. Уважайте мнение других, даже если Вы отстаиваете свой взгляд и свою позицию. Мы не навязываем Вам своё видение, мы даём Вам срез событий дня без цензуры и без купюр. Новости, какие они есть —онлайн с поминутным архивом по всем городам и регионам России, Украины, Белоруссии и Абхазии. Smi24.net — живые новости в живом эфире! Быстрый поиск от Smi24.net — это не только возможность первым узнать, но и преимущество сообщить срочные новости мгновенно на любом языке мира и быть услышанным тут же. В любую минуту Вы можете добавить свою новость - здесь.




Новости от наших партнёров в Вашем городе

Ria.city
Музыкальные новости
Новости России
Экология в России и мире
Спорт в России и мире
Moscow.media









103news.com — быстрее, чем Я..., самые свежие и актуальные новости Вашего города — каждый день, каждый час с ежеминутным обновлением! Мгновенная публикация на языке оригинала, без модерации и без купюр в разделе Пользователи сайта 103news.com.

Как добавить свои новости в наши трансляции? Очень просто. Достаточно отправить заявку на наш электронный адрес mail@29ru.net с указанием адреса Вашей ленты новостей в формате RSS или подать заявку на включение Вашего сайта в наш каталог через форму. После модерации заявки в течении 24 часов Ваша лента новостей начнёт транслироваться в разделе Вашего города. Все новости в нашей ленте новостей отсортированы поминутно по времени публикации, которое указано напротив каждой новости справа также как и прямая ссылка на источник информации. Если у Вас есть интересные фото Вашего города или других населённых пунктов Вашего региона мы также готовы опубликовать их в разделе Вашего города в нашем каталоге региональных сайтов, который на сегодняшний день является самым большим региональным ресурсом, охватывающим все города не только России и Украины, но ещё и Белоруссии и Абхазии. Прислать фото можно здесь. Оперативно разместить свою новость в Вашем городе можно самостоятельно через форму.

Другие популярные новости дня сегодня


Новости 24/7 Все города России



Топ 10 новостей последнего часа



Rss.plus


Новости России







Rss.plus
Moscow.media


103news.comмеждународная интерактивная информационная сеть (ежеминутные новости с ежедневным интелектуальным архивом). Только у нас — все главные новости дня без политической цензуры. "103 Новости" — абсолютно все точки зрения, трезвая аналитика, цивилизованные споры и обсуждения без взаимных обвинений и оскорблений. Помните, что не у всех точка зрения совпадает с Вашей. Уважайте мнение других, даже если Вы отстаиваете свой взгляд и свою позицию.

Мы не навязываем Вам своё видение, мы даём Вам объективный срез событий дня без цензуры и без купюр. Новости, какие они есть — онлайн (с поминутным архивом по всем городам и регионам России, Украины, Белоруссии и Абхазии).

103news.com — живые новости в прямом эфире!

В любую минуту Вы можете добавить свою новость мгновенно — здесь.

Музыкальные новости




Спорт в России и мире



Новости Крыма на Sevpoisk.ru




Частные объявления в Вашем городе, в Вашем регионе и в России